| |
- 1-100м.
- 2 класс точности
- По ГОСТ 7502-98
- №ГРСИ 55464-13
- Образцовые 1 разряда
- Образцовые 2 разряда
- Технические 1 и 2 классов
Микровертушки гидрометрические
ГМЦМ-1
|
Главная Каталог
Приборы для измерения и регулирования температуры Вторичное оборудование Регистраторы температуры ККМ СЭ-ХА, ККМ СЭ-ЖК, ККМ СЭ-НН, ККМ СЭ-ПП, ККМ СЭ Вторичное оборудование для датчиков температуры Кабели компенсационные и термопарные ККМ СЭ-ХА, ККМ СЭ-ЖК, ККМ СЭ-НН, ККМ СЭ-ПП, ККМ СЭ
|
Цена: по запросу
Заинтересованы ККМ СЭ-ХА, ККМ СЭ-ЖК, ККМ СЭ-НН, ККМ СЭ-ПП, ККМ СЭ?
Нажмите кнопку "Отправить заявку " и оформите заявку на данный товар. При оформлении заявки Вы можете уточнить цену либо задать вопросы по нашей продукции.

|
 |
Описание ККМ СЭ-ХА, ККМ СЭ-ЖК, ККМ СЭ-НН, ККМ СЭ-ПП, ККМ СЭ:
Вторичное оборудование для датчиков температуры
Кабели компенсационные и термопарные ККМ СЭ-ХА, ККМ СЭ-ЖК, ККМ СЭ-НН, ККМ СЭ-ПП, ККМ СЭ-ПР, КТ СФЭ, КТМ ФСЭ
Назначение
Кабели необходимы для подключение термоэлектрических преобразователей (термопар) к измерительным приборам с целью уменьшения погрешности измерения.
Модификации
ККМ СЭ-ХА, ККМ СЭ-ЖК, ККМ СЭ-НН компенсационный |
|

|
|

|
|
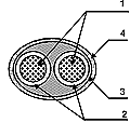
1 - термоэлекродная проволока 7 жил Æ =0,2мм
2 - стеклонитка
3 - стеклоткань
4 - экран из нержавеющей проволоки |
|
Технические данные:
ХА(К)
Сечение: S 1 = 0,22 мм 2 х 2, S 2 = 0,5 мм 2 х 2, S 3 = 0,75 мм 2 х 2
Диаметр: D 1 = 4,0 мм , D 2 = 4,5 мм , D 3 = 4,5 мм
ЖК(J)
Сечение: S 4 = 0,22 мм 2 х 2, S 5 = 0,75 мм 2 х 2
Диаметр: D 4 = 4,0 мм , D 5 = 4,5 мм
НН(N) ;
Сечение: S 6 = 0,22 мм 2 х 2
Диаметр: D 6 = 4,5 мм
Диапазон температур: 0+400ºС |
Область применения:
Кабель ККМСЭ-ПП используется в качестве
компенсационного провода для термопреобразователей
термоэлектрических с НСХ типа ПП(S) |
ККМ СЭ-ПП компенсационный |
|

|
|

|
|
1 - термоэлекродная проволока 7 жил Æ =0,2мм
2 - стеклонитка
3 - стеклоткань
4 - экран из нержавеющей проволоки |
|
Технические данные:
Сечение: S= 0,5 мм2 х 2
Диаметр: D= 4,0 мм
Диапазон температур: 0+400ºС |
Область применения:
Кабель ККМСЭ-ПП используется в качестве
компенсационного провода для термопреобразователей
термоэлектрических с НСХ типа ПП(S) |
ККМ СЭ-ПР компенсационный |
|

|
|

|
|
1 - термоэлекродная проволока 7 жил Æ =0,2мм
2 - стеклонитка
3 - стеклоткань
4 - экран из нержавеющей проволоки |
|
Технические данные:
Сечение: S= 1 мм2 х 2
Диаметр: D= 4,5 мм
Диапазон температур: 0+400ºС |
Область применения:
Кабель ККМСЭ-ПР используется в качестве
компенсационного провода для термопреобразователей
термоэлектрических с НСХ типа ПР(В) |
КТ СФЭ термопарный |
|

|
|

|
|
1 - термоэлекродная проволока
2 - стеклонитка
3 - стеклонитка
4 - экран медный
5 - фторопластовая оболочка |
|
Технические данные:
Сечение: S 1 = 0,2 мм2 х 2, S 1 = 0,4 мм2 х 2
Диаметр: D 1 = 3 мм, D 2 = 3,5 мм
Диапазон температур: -50...+220ºС |
Область применения:
Кабель КТ СФЭ используется в качестве компенсационного провода для термопреобразователей термоэлектрических с НСХ типа ХА(К), ХК(L) |
КТМ ФСЭ термопарный |
|

|
|

|
|
1 - термоэлекродная проволока 7 жил Æ =0,3мм
2 - оболочка из фторопласта
3 - Кремнеземная нить
4 - экран из медной проволоки, покрытой никелем |
|
Технические данные:
Сечение: S= 0,5 мм2 х 2
Диаметр: D= 3,5 мм
Диапазон температур: -50...+200ºС |
Область применения:
Кабель КТМ ФСЭ используется в качестве компенсационного провода для термопреобразователей термоэлектрических с НСХ типа ХА(К), ХК(L) |
Дополнительную информацию на ККМ СЭ-ХА, ККМ СЭ-ЖК, ККМ СЭ-НН, ККМ СЭ-ПП, ККМ СЭ Вы можете получить связавшись с нами или отправив заявку на данный товар. При оформлении заявки Вы можете задать вопросы по продукции, запросить цену и т.д.
См. также:
 |
Бобышки
Вторичное оборудование для датчиков температуры Арматура для термопреобразователей |
 |
Гильза защитная ГЗ
Вторичное оборудование для датчиков температуры Арматура для термопреобразователей |
 |
ИПМ 0399М0
Вторичное оборудование Модульные преобразователи |
 |
ИПМ 0399М2
Вторичное оборудование Модульные преобразователи |
 |
ИПМ 0399М3
Вторичное оборудование Модульные преобразователи |
 |
МИГР-01 и МИГР-02
Вторичное оборудование Преобразователи интерфейса Модули интерфейсные с гальванической развязкой |
 |
ПИ 232/485
Вторичное оборудование Преобразователи интерфейса Преобразователь интерфейса |
 |
964
Двухходовое, трехходовое и пяти ходовое вентильное устройство |
 |
КМЧ
Комплекты монтажных частей |
|
Лидеры продаж |
|
|
Новое в каталоге |
|
|
|